整體框架液壓機及滑梁的安裝方法包括一體結構的整體框架,整體框架設有位于四角的方形立柱,頂部設有豎直的活塞桿向下的液壓缸,液壓缸穿過整體框架的頂部朝下,活塞的端部安裝連接盤,連接盤的下面連接于滑梁的上面,滑梁的四角設滑板,方形立柱上設有導軌板,滑板在導軌板上上下滑動,滑梁的下面設有多組等高塊支撐下梁。

其優點在于:采用整體的框架作為機體,使整體框架液壓機便于安裝。采用滑梁整體安裝思路,用初始條件保證了最終要求的框架液壓機的平行度,用這種安裝方法和順序使滑梁沿四柱導軌上下往復工作時不與液壓缸的活塞桿上下運動時相干涉。
安裝整體框架液壓機滑梁的方法,包括以下步驟,
1)、整體框架10調平:將整體框架10液壓安裝并進行調平;
2)、制作等高塊9:將四支等高塊9并排點焊在一起同時加工,精磨上下端面,保證等高。
3)、等高塊9安裝:用四支等高塊9置于下梁1上側面上,分別貼緊導軌板2并支撐滑梁8下側面;
4)、安裝滑板3和鍥塊:滑板3用螺釘緊固在滑梁8上、將鍥塊塞入滑板的斜面和滑梁8的安裝槽側面之間,調整滑梁8位置,使得四鍥塊4鍥入或外露的長度均勻,調節滑板3固定螺栓保持滑板3與導軌板2有少量間隙;
5)、刮研滑梁8與連接盤7結合面:將滑梁8上側面與連接盤7結合面刮研、并緊密貼合,用螺釘將連接盤7緊固在滑梁8上。

附圖標記及說明;
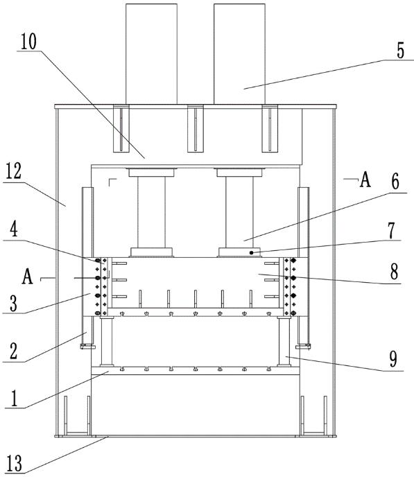
1下梁、2導軌板、3滑板、4鍥塊、5液壓缸、6活塞桿、7連接盤、8滑梁、9等高塊、10整體框架、11耐磨片、12方形立柱、13底板。
液壓機框架式設備,包括一體結構的整體框架10,整體框架10設有位于四角的方形立柱12,頂部設有豎直的活塞桿6向下的液壓缸5,活塞穿過整體框架10的頂部朝下,活塞的端部安裝連接盤7,連接盤7的下側面連接于滑梁8的上側面,滑梁8的四角設滑板3,方形立柱12上設有導軌板2,滑板3在導軌板2上上下滑動,滑梁8的下側面設有多組等高塊9連接下梁1。導軌板2的橫向截面為矩形,對應的滑板3為與立柱配合的直角狀,滑板3的外側面開螺孔貫穿滑板3直角板體并通過螺栓與滑梁8相連,滑板3開螺孔的板體外側面為外向的斜面。
該斜面與滑梁8之間插入鍥塊4。滑板3與導軌板2接觸的內側面設有耐磨片11,耐磨片11通過沉孔螺栓固定于滑板3上。滑梁8的四角為內凹的安裝槽,滑板3設斜面的板體置入該安裝槽內,鍥塊4的兩側面與滑板3的斜面和滑梁8的安裝槽側面接觸,安裝槽另一側面開滑板3固定螺孔和鍥塊4安裝螺孔。高塊9為四組,等高塊9設置在下梁1的四角位置靠近導軌板2。方形立柱12在靠近側面的棱角位置設置導軌板2,方形立柱12為四面豎向的側板焊接而成,方形立柱12在底部通過底板13連接為一體。
整體采用框架為作為機體的液壓機,設置合理各部件結構便于安裝。其滑梁整體安裝采用四支等高塊置于下梁上與滑梁之間,用初始條件保證了最終要求的框架液壓機的平行度,用這種安裝方法和順序使滑梁沿四柱導軌上下往復工作時不與液壓缸的活塞桿上下運動時相干涉。
河南省杜甫機械制造有限公司
公司地址:河南省鞏義市站街開發區
公司電話:0371-64422067
手機號碼:18624915999
公司郵箱:dufujx@foxmail.com
公司網址:http://www.xianyucc.com
手機版 備案號:豫ICP備12007906號-8